Elektrolytické kondenzátory s vysokým obsahem zvlnění 8 000 ~ 10 000 hodin ▏CADD
Funkce
105℃, 8,000 ~ 10,000 Ujištěné hodiny
Vhodné pro spínání zdrojů, UPS, Zátěž
Menší velikost s velkým přípustným zvlněním proudu
Rohs vyhovuje
105℃, 8,000 ~ 10,000 Ujištěné hodiny
Vhodné pro spínání zdrojů, UPS, Zátěž
Menší velikost s velkým přípustným zvlněním proudu
Rohs vyhovuje
SPECIFIKACE
| Položky | Výkon | |||||||||||
| Jmenovitý rozsah napětí | 160 ~ 400V | 450PROTI | ||||||||||
| Provozní teplotní rozsah | -40°C ~ +105 °C | -25°C ~ +105 °C | ||||||||||
| Tolerance kapacitance | +20% (při 120Hz, 20° C.) | |||||||||||
|
Únik proudu (na 20 ° C.) |
Čas | po 1 minuta | po 5 zápis | |||||||||
| Únik proudu | CV < 1000 | CV > 1000 | CV < 1000 | cv > 1000 | ||||||||
| I = 0,1 CV + 40 (uA) | I = 0,04 CV + 100 (uA) | I = 0,03 CV + 15 (uA) | I = 0,02 cv + 25 (uA) | |||||||||
| Kde C = jmenovitá kapacita v µF. V = jmenovité stejnosměrné pracovní napětí ve V. | ||||||||||||
| Faktor rozptylu
(Tan 5 při 120 Hz, 20 ° C.) |
Jmenovité napětí | 200 | 250 | 350 | 400 | 450 | ||||||
| Tan 5 (max) | 0.20 | 0.20 | 0.24 | 0.24 | 0.24 | |||||||
|
Nízká teplota Charakteristiky (při 120Hz) |
Poměr impedance nesmí překročit hodnoty uvedené v tabulce níže. | |||||||||||
| Jmenovité napětí | 200 | 250 | 350 | 400 | 450 | |||||||
| Impedance
Poměr |
Z (-25) / Z (+20° C.) | 3 | 3 | 5 | 5 | 6 | ||||||
| Z (-40) / Z (+20° C.) | 6 | 6 | 6 | 6 | – | |||||||
|
Test životnosti zátěže |
Doba testu | 8,000 hod pro ΦD = 10mm; 10,000 hod pro ΦD >12.5mm | ||||||||||
| Změna kapacity | V + 20% počáteční hodnoty | |||||||||||
| Faktor rozptylu | Méně než 200% zadané hodnoty | |||||||||||
| Únik proudu | V rámci zadané hodnoty | |||||||||||
| * Výše uvedené specifikace musí být splněny, když jsou kondenzátory obnoveny na 20 °C po přivedení jmenovitého napětí s jmenovitým zvlněním
proud pro 8,000 hod / 10,000 hodin při 105 °C. |
||||||||||||
|
Test životnosti |
Změna kapacity | V + 20% počáteční hodnoty | ||||||||||
| Faktor rozptylu | Méně než 200% zadané hodnoty | |||||||||||
| Únik proudu | Méně než 500% zadané hodnoty | |||||||||||
| * Výše uvedené specifikace musí být splněny, když jsou kondenzátory po jejich vystavení obnoveny na 20 °C 1,000 hod při 105°C bez přiloženého napětí. Před měřením se na kondenzátory přivede jmenovité napětí
(Viz JIS C 5102). |
||||||||||||
|
Zvlněný proud & Frekvenční multiplikátory |
Frekv. (Hz)
ΦD (mm) |
120 |
1k |
10k |
100k
nahoru |
|||||||
| 10 | 0.25 | 0.61 | 0.88 | 1.0 | ||||||||
| 12.5 ~ 18 | 0.35 | 0.66 | 0.89 | 1.0 | ||||||||
| Jiné standardy | JIS C 5101-4 | |||||||||||
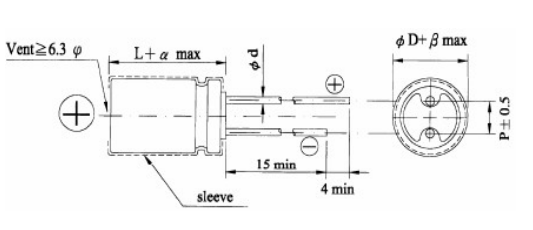
ROZMĚRY Jednotka: mm
| jD | 10 | 12.5 | 16 | 18 |
| P | 5.0 | 7.5 | ||
| j d | 0.6 | 0.8 | ||
| A | 1.5 | |||
| b | 0.5 | |||
ROZMĚRY & DOVOLENÝ VLNĚNÍ PROUD Zvlněný proud: mA/rms a 105 °C
| V.D C
Položka |
160PROTI (2C) | 200PROTI (2D) | 250PROTI (2E) | ||||||
|
JD x L |
Zvlněný proud |
JD x L |
Zvlněný proud |
JD x L |
Zvlněný proud | ||||
|
uF |
120Hz | 100kHz | 120Hz | 100kHz | 120Hz | 100kHz | |||
| 10 | 10 x 16 | 125 | 315 | 10 x 16 | 125 | 315 | 10 x 20 | 140 | 350.00 |
| 22 | 10 x 20 | 200 | 500 | 10 x 20 | 200 | 500 | 10 x 20 | 200 | 500 |
| 33 | 10 x 20 | 250 | 625 | 10 x 20 | 260 | 650 | 12.5 x 20 | 320 | 800 |
| 47 | 10 x 20 | 300 | 750 | 12.5 x 20 | 390 | 975 | 12.5 x 20 | 390 | 975 |
| 68 | 12.5 x 20 | 470 | 1175 | 12.5 x 20 | 470 | 1175 | 16 x 20 | 520 | 1300 |
| 82 | 12.5 x 20 | 510 | 1275 | 16 x 20 | 550 | 1375 | 16 x 20 | 550 | 1,375 |
| 100 | 12.5 x 25 | 620 | 1,395 | 16 x 20 | 630 | 1,420 | 16 x 25 | 680 | 1,530 |
| 16 x 20 | 630 | 1,420 | |||||||
| 150 | 16 x 20 | 770 | 1,735 | 16 x 25 | 840 | 1,890 | 18 x 25 | 860 | 1,935 |
| 220 | 16 x 25 | 1,020 | 2,295 | 18 x 25 | 1,050 | 2,365 | 18 x 31.5 | 1,130 | 2545 |
| 330 | 18 x 31.5 | 1,390 | 3,130 | 18 x 35.5 | 1,430 | 3,220 | |||
| V.D C
Položka uF |
350PROTI (2PROTI) | 400PROTI (2G) | 450PROTI (2W) | ||||||
| JD x L | Zvlněný proud | JD x L | Zvlněný proud | JD x L | Zvlněný proud | ||||
| 120Hz | 100kHz | 120Hz | 100kHz | 120Hz | 100kHz | ||||
| 6.8 | 10 x 16 | 110 | 275 | 10 x 16 | 110 | 275 | 10 x 20 | 110 | 275 |
| 10 | 10 x 20 | 140 | 350 | 10 x 20 | 140 | 350 | 12.5 x 20 | 180 | 450 |
| 22 | 12.5 x 20 | 260 | 650 | 12.5 x 20 | 260 | 650 | 16 x 20 | 290 | 725 |
| 33 | 16 x 20 | 360 | 900 | 16 x 20 | 360 | 900 | 16 x 25 | 390 | 975 |
| 18 x 20 | 380 | 950 | |||||||
| 47 | 16 x 20 | 430 | 1,075 | 16 x 25 | 470 | 1,175 | 18 x 25 | 480 | 1,200 |
| 18 x 20 | 450 | 1,125 | |||||||
| 68 | 16 x 25 | 560 | 1,400 | 18 x 25 | 585 | 1,465 | 18 x 31.5 | 630 | 1,575 |
| 18 x 20 | 550 | 1,375 | |||||||
| 82 | 18 x 25 | 610 | 1,525 | 18 x 25 | 610 | 1,525 | 18 x 35.5 | 715 | 1,785 |
| 100 | 18 x 25 | 700 | 1,575 | 18 x 31.5 | 765 | 1,720 | 18 x 40 | 800 | 1,800 |
| 120 | 18 x 31.5 | 830 | 1,865 | 18 x 35.5 | 865 | 1,945 | |||
| 150 | 18 x 35.5 | 960 | 2,160 | 18 x 40 | 985 | 2,215 | |||
Funkce
◆ 105℃,8,000~10 000 hodin zajištěno
◆ Vhodné pro napájecí zdroje,UPS, Zátěž
◆ Menší velikost s velkým přípustným zvlněním proudu
◆ Vyhovuje Rohs









